حين تصبح طائرات الدرون الصغيرة جاهزة للاستخدام من أجل توصيل الطرود، فإنها قد تنطلق من أبراج تشبه خلايا النحل، ستكون هذه الأبراج التي سجلتها شركة أمازون كبراءة اختراع موجودة في مواقع استراتيجية داخل المدن الكبرى أو حولها.
تم تقديم هذه الفكرة إلى مكتب براءات الاختراع في الولايات المتحدة الأميركية عام 2015، وتم نشرها على وسائل الإعلام في شهر يونيو/حزيران 2017، تصف براءة الاختراع هذه أبراجاً عمودية الشكل مؤلفة من عدة طوابق، يمكن أن تقلع منها طائرات الدرون الصغيرة بدون طيار بسهولة لتسليم الطرود إلى العملاء.
تتوقع الشركة أن يساهم هذا الاختراع في تقليل وقت انتظار تسليم الطرود للعملاء، ما يشكل حلاً لمشكلة "الميل الأخير" (Last Mile)، وهي المرحلة الأخيرة من تسليم الطرود وإيصالها من مستودعات الشركة إلى منازل العملاء.
بالإضافة إلى جعل عملية التسليم أسرع، يمكن أن تساهم هذه المطارات العمودية في توفير المال وتقليل الازدحام في مراكز المدن، كون الشركة لن تكون مضطرة إلى شراء أو استئجار مستودعات كبيرة الحجم في هذه المدن.
اقرأ أيضاً: بعد السيارات والطائرات: الآن جاء دور القوارب لتصبح ذاتية القيادة
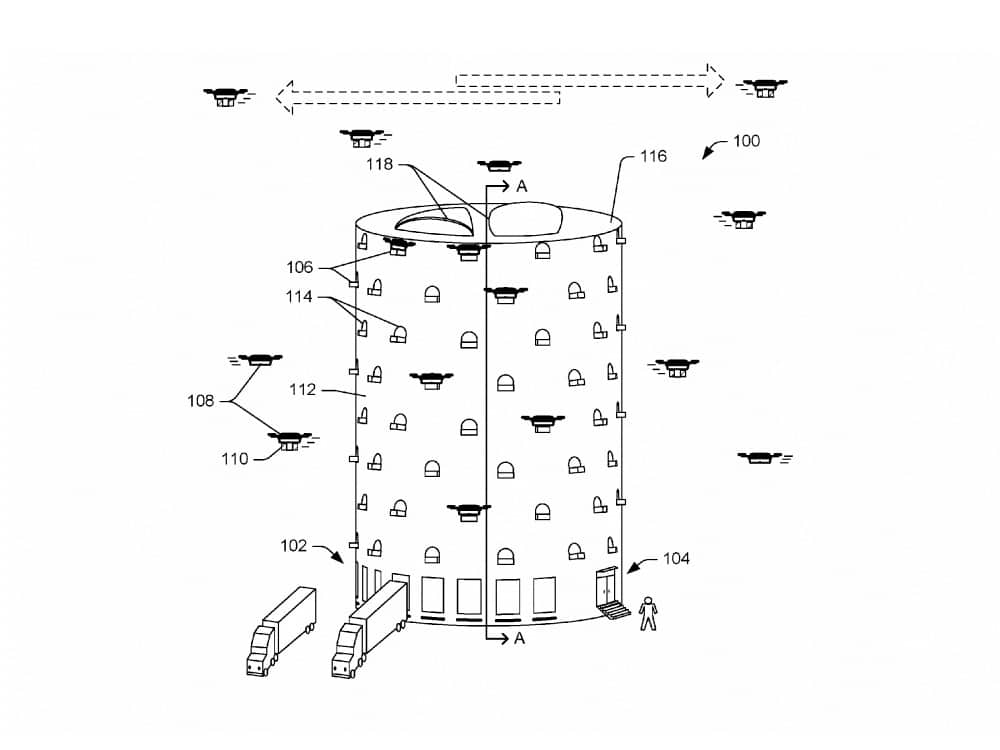
مبدأ عمل برج الطائرات بدون طيار

تصف براءة الاختراع كيف سيكون شكل هذا الاختراع، هو عبارة عن برج مكون من عدة طوابق، وفيه الكثير من المنصات لإقلاع وهبوط الطائرات بدون طيار.
في الطابق السفلي من البرج، يوجد مستودع يمكن أن تدخله السيارات والشاحنات لتفريغ حمولتها فيه، وفي هذا الطابق أيضاً، سيعمل عدد من العمال أو الروبوتات على تجهيز الطرود ونقلها إلى الطوابق العليا بالمصاعد، وهناك سيتم تحميلها على طائرات الدرون الصغيرة، بعدها ستنطلق هذه الطائرات لتسليم الطرود إلى العملاء.
تتضمن براءة الاختراع عدة تصاميم لأبراج بالأشكال مختلفة. ولا نعلم ما هو التصميم الذي تعتقد الشركة أن الأفضل للمشروع.

لماذا اختارت الشركة تصميم خلية النحل؟
بمجرد الإعلان عن براءة الاختراع هذه، تساءل العديد من الخبراء، لماذا اختارت شركة أمازون تصميم خلية النحل المكون من عدة طوابق، بدلاً من جعل التصميم بطابق واحد؟ أليس عمل العمال والروبوتات سيكون أسهل في طابق واحد؟
تقول الشركة إن هناك ثلاثة أسباب لاختيار التصميم العمودي المكون من عدة طوابق، السبب الأول هو توفير المساحة، فبدلاً من شراء أو استئجار مساحة كبيرة من الأرض، يمكن إنشاء برج على عدة طوابق بمساحة أصغر. السبب الثاني هو توفير قوة الطائرة بدون طيار، فهذا النوع من الطائرات يصرف الكثير من الطاقة للصعود إلى الارتفاع المطلوب، ومن خلال توفير الطاقة، ستكون الطائرات قادرة على الطيران لمسافة أبعد وبالتالي خدمة عدد أكبر من العملاء، أما السبب الثالث فهو تخفيف الضجيج، فطائرات الدرون تشكل مصدر إزعاج للسكان في حال كانت على مسافة منخفضة، ما يعني أن إقلاعها من طابق مرتفع سيقلل من الضجيج، حتى لو كان هذا التأثير محدوداً، لكنه يظهر اهتمام الشركة بجعل خدماتها غير مزعجة لسكان المدن، خاصةً للسكان الذين يسكنون بالقرب من البرج.
اقرأ أيضاً: طائرات من دون طيار تُوصل أدوية مُنقذة للحياة في غانا
المشروع ما يزال على الورق؟
بعد مرور حوالي 7 سنوات على تقديم المشروع لمكتب براءات الاختراع الأميركي، ورغم أن أمازون قالت إنه سيحدث تغييراً كبيراً في مجال التجارة الإلكترونية، لم يتم إنشاء أي برج من هذا النوع حتى الآن، لا نعرف السبب الذي أدى إلى تأخير أو تأجيل المشروع، من المحتمل أن يكون ذلك بسبب مشاكل تقنية.
اقرأ أيضاً: هل تستطيع طائرة مُسيَّرة عن بعد أن تُسقط طائرة ركاب؟
بحسب موقع "ذا فيرج" (The Verge)، يعتبر هذا المشروع غير مناسب، فمن من السكان سيرغب في العيش بالقرب من برج الطائرات بدون طيار الذي يسبب الكثير من الضجيج؟ وماذا لو عانت هذه الطائرات من مشاكل تقنية وأعطال أدت إلى سقوطها من السماء أو سقوط حمولتها فوق المناطق المأهولة بالسكان؟ هذا السيناريو الأخير يمكن أن يكون خطيراً للغاية وربماً قاتلاً.